Rated 4.6 out of 5 stars.
Get it by Mon, Mar 23Ā
toĀ
67346
Everything ships FREE*
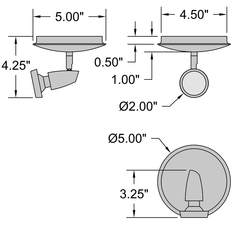
Compatible Track Type: Juno (J)
Mounting / Installation Type: Ceiling
Compatible Bulb Type: Halogen
Overall Length - End to End: 0 ''
Fixture Finish:
Bronze
About This Product
Features

Earn 5% back¹ in rewards, plus more exclusive perks
